在如今的电路设计中,绝大部分的场景都是数字和模拟的混合电路设计,而混合电路的中间连接通道一定离不开ADC和DAC。

比如我们日常使用的遥控器,其摇杆的内部就是一个滑动变阻器的原理,有些高档一点的设计会使用线性霍尔的设计来提高可靠性和性能,但这些摇杆的信号最终要想进入到数字系统中参与运算,那么就一定需要对变阻器或者霍尔输出的模拟信号进行量化,这个量化过程就需要用到ADC。

大多数工程师对ADC的了解可能都集中在单片机的ADC外设,比如对于STM32F103RC,它就集成了三路独立的ADC,其采样速率可以达到1MHz,量化精度可以到12bit(实际采样精度只有10.9bit)。

事实上,ADC还有很多其他的封装形式,比如在电子秤应用中,我们需要一个超高精度的ADC对应变片的阻值变化进行采样,这个精度达到了24bit,那么这一类的ADC最开始都是以单芯片的形式出现的,后来在电子秤应用的广泛推动下,才出现了一些24bitADC和mcu合并在一起的芯片。
再比如,我们对于视频信号,或者雷达应用中,我们对于ADC的采样速率要求达到了上GHz,这样的ADC基本上都是单独设计成一个IC,留出并口或者SPI等高速接口。
举了很多例子,不知道大家是否知道,这些不同应用中的ADC虽然看起来都是将模拟信号量化成数字信号,但是其内部原理却不尽相同,他们的原理设计有的是为了实现高速度,有的是为了实现高精度,有的是为了达到一个平衡,比如像STM32中集成的ADC那样。
下面我们先来看一下ADC都有哪些分类:
- 直接转换模拟数字转换器(Direct-conversion ADC),或称Flash模拟数字转换器(Flash ADC)
- 循序渐进式模拟数字转换器(Successive approximation Register ADC),俗称SAR ADC
- 跃升-比较模拟数字转换器(Ramp-compare ADC)
- 威尔金森模拟数字转换器(Wilkinson ADC)
- 集成模拟数字转换器(Integrating ADC)
- Delta编码模拟数字转换器(Delta-encoded ADC)
- 管道模拟数字转换器(Pipeline ADC)
- Sigma-Delta模拟数字转换器(Sigma-delta ADC)
- 时间交织模拟数字转换器(Time-interleaved ADC)
每一种ADC类型的工作原理和适用场景都不同。

今天我们就以比较常见的四类ADC架构来探寻一下他们的实现原理。
SAR ADC:

SAR ADC是一种获得高精度ADC转换的方法,它采用逐步逼近的方法进行比较。它首先将输入信号与一个参考电压进行比较,然后将比较结果与参考电压的一半进行比较,再根据比较结果确定下一步比较的阈值。通过不断重复此过程,逼近输出的精度越来越高,最终得到目标的数字化结果,这个比较的次数正好是ADC的量化深度,也就是位数。

由于SAR ADC结构简单,转换速度快,且精度高,在数字信号处理中广泛应用。同时,由于其需要逐步逼近,所以在处理不稳定的、干扰较大的信号时可能出现收敛慢、精度下降等问题,因此需要在实际应用中仔细评估和设计。
STM32的ADC属于 SAR ADC。STM32系列芯片内置了多个ADC模块,不同型号的芯片支持的ADC模块数量和通道数也有所不同。
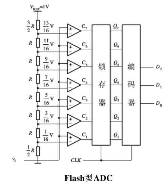
FLASH ADC
FLASH ADC是快闪式模拟数字转换器(Flash Analog-to-Digital Converter)的缩写[[1]]。

FLASH ADC是一种基于比较器和多个参考电压的模拟信号转换器。它使用一个线性电压阶梯和每个阶梯上的比较器来将输入电压与连续的参考电压进行比较,从而实现ADC转换。相比其他ADC转换方式,FLASH ADC具有转换速度快、精度高等优点。由于其电路结构复杂,电路设计难度大,因此在实际应用中需要考虑诸多因素的影响。
FLASH ADC常用于需要高速数字化处理的应用场合,例如高速数据采集系统、高速通信网络和超高清视频等领域。
Sigma-delta ADC
Sigma-delta ADC是Σ-Δ调制器模拟数字转换器(Sigma-Delta Modulator Analog-to-Digital Converter)的简称[[1]]。

Sigma-delta ADC的工作原理是将输入信号连续地通过一个Σ-Δ(sigma-delta)调制器进行调制,再通过数字滤波器把高频调制噪声滤除,最后通过一个采样保持电路进行采样,实现模拟信号到数字信号的转换。由于该架构可以在较低的分辨率下获得高精度的结果,因此广泛用于音频、视频、加速度计以及温度测量等领域。
实际上,对于Sigma-delta ADC的理解可以通俗的认为是多次采样进行平均以达到更高的精度,比如我们采样1V的电压,可能当前的12bit精度不够,但是我们可以采样1000次,这样累加的电压1000V进行量化,然后在平均获得的精度会更高。
需要注意的是,Sigma-delta ADC的转换速度通常比其他ADC方法慢,并且需要更高的时钟频率和更高的系统性能。
Pipeline ADC
Pipeline ADC是管线式模拟数字转换器(Pipelined Analog-to-Digital Converter)的简称[[1]]。

Pipeline ADC是一种高速ADC,它采用多级管线结构,将整个ADC转换过程分为多个单元阶段,每个单元阶段负责对前一级的输出进行处理和采样,并输出到后一级。由于每个单元阶段只需要处理部分位数,因此可以大幅提高转换速度。 使用 pipeline ADC 可以实现高精度、高速的模拟信号转换,在工业、通信系统、医疗电子、航空航天等领域得到广泛应用。
需要注意的是,Pipeline ADC在设计实现时较为复杂,而且由于多级采样和量化误差噪声的传递,最终输出的数字化信号可能会受到比较强的噪声干扰,因此需要进一步处理这些干扰以实现更高的信噪比。
© 版权声明
文章版权归作者所有,未经允许请勿转载。
相关文章
没有相关内容!
暂无评论...